monstershopmonstershop.co.uk
Instructions by monstershopBBQ Smoker Grill XXL
monstershop

BBQ Smoker Grill XXL

BBQ Smoker Grill XXL
Before you start
Safe Working PracticeGrill Placement SafetyGrill Preparation SafetyCharcoal Lighting SafetyGrill Use SafetyAfter Use SafetyPartsTools
Steps
1. Prepare the Parts2. Attaching Legs and Wheels3. Assembling the Frame4. Connecting Panels5. Attaching Furnace Body6. Securing Side Panel Support Bars7. Attaching Air Vents and Handles8. Attaching Lower Brackets to Charcoal Tray9. Connecting Upper Brackets and Lower Arms10. Securing Lift Rack11. Inserting Lever and Securing Fire Damper12. Securing Upper Brackets and Lift Rack13. Attaching Lever Support Bracket14. Attaching Bottle Opener15. Attaching Cast Iron Door16. Attaching Side Shelves and Hinges17. Attaching Ash Handle and Flange18. Sliding Ash Pan and Securing Hooks19. Assembling the Lid20. Securing Upper Hinges to Lid21. Attaching Chimney22. Placing Temperature Gauge23. Attaching Grill Lid24. Securing Warming Rack and Cooking Grids25. Resolution Guide

No results

monstershop
monstershop / BBQ Smoker Grill XXL
BBQ Smoker Grill XXL
monstershop

Instructions by

monstershop

BBQ Smoker Grill XXL

Rule every BBQ with this XXL BBQ Smoker! With a huge grill area, adjustable coal tray, foldable shelves, storage hooks, and a built-in bottle opener, it's perfect for any party. Easy to clean, durable, and stylish—plus a rain cover included for year-round use!

Product Information

BBQ Smoker Grill XXL

This Jardi BBQ Smoker Grill is an ideal addition to any garden - whether you're an occasional BBQ enthusiast or a real grilling master - this is the ultimate tool to add to your cooking entourage. With the 6 height adjustable coal tray, you can be rest assured that you'll be able to satisfy anyone's taste buds.
View product (opens in new tab)
SKU
29205
Materials
Steel
Dimensions
111cm (H) x 142cm (W) x 62cm (D)
Weight
34.5KG

Safe Working Practice

Please read through the Safe Working Practice to ensure prevention of injury or damage to the device.

  • Ensure you have read and fully understood the instruction manual and safety advice before assembling this product.
  • Ensure that the grill is handled and assembled according to these instructions.
  • Do not use this product for anything other than its intended purposes.

Grill Placement Safety

  • Always use the grill outdoors.
  • NEVER use the grill in an enclosed space or under a covered area. Charcoal creates carbon monoxide and therefore should always be burned in a well-ventilated area.
  • DO NOT use this grill within 10'(3m) of any combustible material, including, but not limited to shrubbery, trees, wood or treated wood decks, fences, patios, porches, walls, vehicles, gasoline, lighter fluid, or any other flammable liquid.
  • ONLY use this grill on a hard, level, non-combustible, stable surface, such as concrete that can support the weight of the grill. NEVER use on wood or other combustible surfaces.
  • NEVER use this grill where children or pets could come into contact with the grill.

Grill Preparation Safety

  • Do NOT use the grill without the ash tray in place.
  • Do NOT use this grill unless fully assembled and all parts are in working order.

Charcoal Lighting Safety

  • We recommend a charcoal chimney starter to avoid the dangers of charcoal starter fluid. ALWAYS read and follow the chimney starter manufacturer's instructions and warnings. Failure to do so could result in serious injury.
  • If you use charcoal starter fluid, ONLY use starter fluid approved for lighting charcoal
  • NEVER use gasoline, alcohol, kerosene, or any other highly flammable liquid. Use of any of these or similar products could cause an explosion, possibly leading to severe bodily injury.
  • ALWAYS clean up any starter fluid spills before lighting charcoal.
  • ALWAYS allow charcoal starter fluid to completely burn off prior to closing the grill lid. Failure to do so could trap fumes in the grill and might result in flash fire or explosion when the lid is opened.
  • NEVER add charcoal starter fluid to hot or warm coals. Flare-ups could occur and cause burns.
  • ALWAYS store charcoal starter fluid safely away from grill. DO NOT store starter fluid or other flammable liquids or materials under the grill.
  • DO NOT use the grill in windy conditions.
  • NEVER leave a hot grill unattended.

Grill Use Safety

  • Grill is hot when in use. To avoid burns: 

1. DO NOT attempt to move the grill while lit or still hot.
2. ALWAYS wear protective gloves or oven mitts.
3. DO NOT TOUCH any hot grill surfaces.

  • DO NOT wear loose clothing or allow hair to come into contact with grill.
  • NEVER add pre-soaked charcoal to hot or warm coals or ashes. Dangerous or explosive flare-ups could occur and result in bodily harm.
  • USE EXTREME CAUTION when adding charcoal and/or wood to the grill while cooking, as charcoal is still hot and can cause burns.
  • ALWAYS open lid completely and secure to prevent unexpected closing.
  • NEVER place more than 8 lb (3.6kg) on any of the shelves. DO NOT lean on any shelf.
  • NEVER add water when smoking as hot water may splash onto the coals creating a burst of steam and hot ash.
  • When grilling, grease from food may drip onto the charcoal and cause a grease fire. If this happens close the lid and air vents to suffocate the flame. NEVER use water to extinguish a grease fire.
  • Keep hands, face, and body a safe distance from the grill when opening the lid. Flare-ups may occur when flames or hot coals encounter increased airflow.
  • NEVER try to remove the ash tray while coals are hot. Doing so could cause burns.

After Use Safety

  • ALWAYS allow grill and components to cool completely before handling.
  • Ensure the grill has fully cooled before covering with the cover provided.
  • DO NOT remove ashes or used coals from the grill until they are fully extinguished.
  • To extinguish charcoal, close all vents and close the grill lid for as long as possible. When they must be removed, carefully place in a non-combustible metal container. Saturate coals and ash with water and allow them to remain in the metal container for 24 hours before disposing.
  • Keep extinguished coals and ash safely away from combustible structures and materials.
  • Spray or douse the surfaces under and around the grill with water until completely wet to extinguish any ashes, coals, or embers that may have fallen during grilling or cleaning.
  • Store the grill in a dry location out of reach of children and pets when not in use.

Tools

Wire Brush

Parts

Grill Lid
1 - Grill Lid
Chimney
2 - Chimney
Vent Handles
3 - Vent Handles
Temperature Gauge
4 - Temperature Gauge
Lid Vents
5 - Lid Vents
Bottle Opener
6 - Bottle Opener
Lid Handle
7 - Lid Handle
Warming Rack
8 - Warming Rack
Cast Iron Cooking Grids
9 - Cast Iron Cooking Grids
Lift Rack
10 - Lift Rack
Hooks
11 - Hooks
Right Side Shelf
12 - Right Side Shelf
Left Side Shelf
13 - Left Side Shelf
Side Panel Support Bar
14 - Side Panel Support Bar
Air Vents
15 - Air Vents
Charcoal Tray
16 - Charcoal Tray
Ash Pan
17 - Ash Pan
Ash Pan Handle
18 - Ash Pan Handle
Upper Hinges
19 - Upper Hinges
Lower Hinges
20 - Lower Hinges
Left Upper Bracket
21 - Left Upper Bracket
Right Upper Bracket
22 - Right Upper Bracket
Crank
23 - Crank
Lower Brackets
24 - Lower Brackets
Lower Arms
25 - Lower Arms
Left Side Panel
26 - Left Side Panel
Rear Panel
27 - Rear Panel
Front Panel
28 - Front Panel
Right Side Panel
29 - Right Side Panel
Cast Iron Door
30 - Cast Iron Door
Wheels
31 - Wheels
Axle
32 - Axle
Front Wheel Leg
33 - Front Wheel Leg
Rear Wheel Leg
34 - Rear Wheel Leg
Front Stationery Leg
35 - Front Stationery Leg
Rear Stationery Leg
36 - Rear Stationery Leg
Bottom Panel
37 - Bottom Panel
Frame Rear Beam
38 - Frame Rear Beam
Frame Side Beams
39 - Frame Side Beams
Fire Damper
40 - Fire Damper
Height Adjusting Plate
41 - Height Adjusting Plate
Lever Support Bracket
42 - Lever Support Bracket
M6 12mm Screw
A - M6 12mm Screw
M6 20mm Screw
B - M6 20mm Screw
M6 35mm Screw
C - M6 35mm Screw
M6 18mm Screw
D - M6 18mm Screw
M5 12mm Screw
E - M5 12mm Screw
M4 10mm Screw
F - M4 10mm Screw
M6 Flange Nut
G - M6 Flange Nut
M5 Flange Nut
H - M5 Flange Nut
M8 Lock Nut
I - M8 Lock Nut
M4 Flat Gasket
J - M4 Flat Gasket
M6 Flat Gasket
K - M6 Flat Gasket
M8 Flat Gasket
L - M8 Flat Gasket
Cotter Pin
M - Cotter Pin
M5 8mm Hinge Pin
N - M5 8mm Hinge Pin
M5 25mm Hinge Pin
O - M5 25mm Hinge Pin
M5 35mm Hinge Pin
P - M5 35mm Hinge Pin
M5 45mm Hinge Pin
Q - M5 45mm Hinge Pin

1. Prepare the Parts

Check you have each part that is needed to assemble the BBQ smoker grill.

2. Attaching Legs and Wheels

Attaching Legs and Wheels
  • Attach the front stationary leg (35), rear stationary leg (36), and wheel legs (33, 34) to the bottom panel (37) using 8x M6 12mm screws (A).
  • Insert the axle (31) through the holes on the wheel legs (33, 34).
  • Place the wheels (31) on the end of each axle and secure with the M8 flat gasket (L) and M8 lock nuts (I).

3. Assembling the Frame

Assembling the Frame
  • Turn the frame around so the wheels and feet are on the ground.
  • Attach the frame side beams (39) and frame rear beam (38) to the inside of the legs using 12x M6 12mm screws (A).

4. Connecting Panels

Connecting Panels

Connect the left side panel (26), rear panel (27), front panel (28), and right side panel (29) together using 12x M6 12mm screws (A).

5. Attaching Furnace Body

Attaching Furnace Body

Attach the furnace body to the legs of the base assembled in the previous step using 8x M6 12mm screws (A).

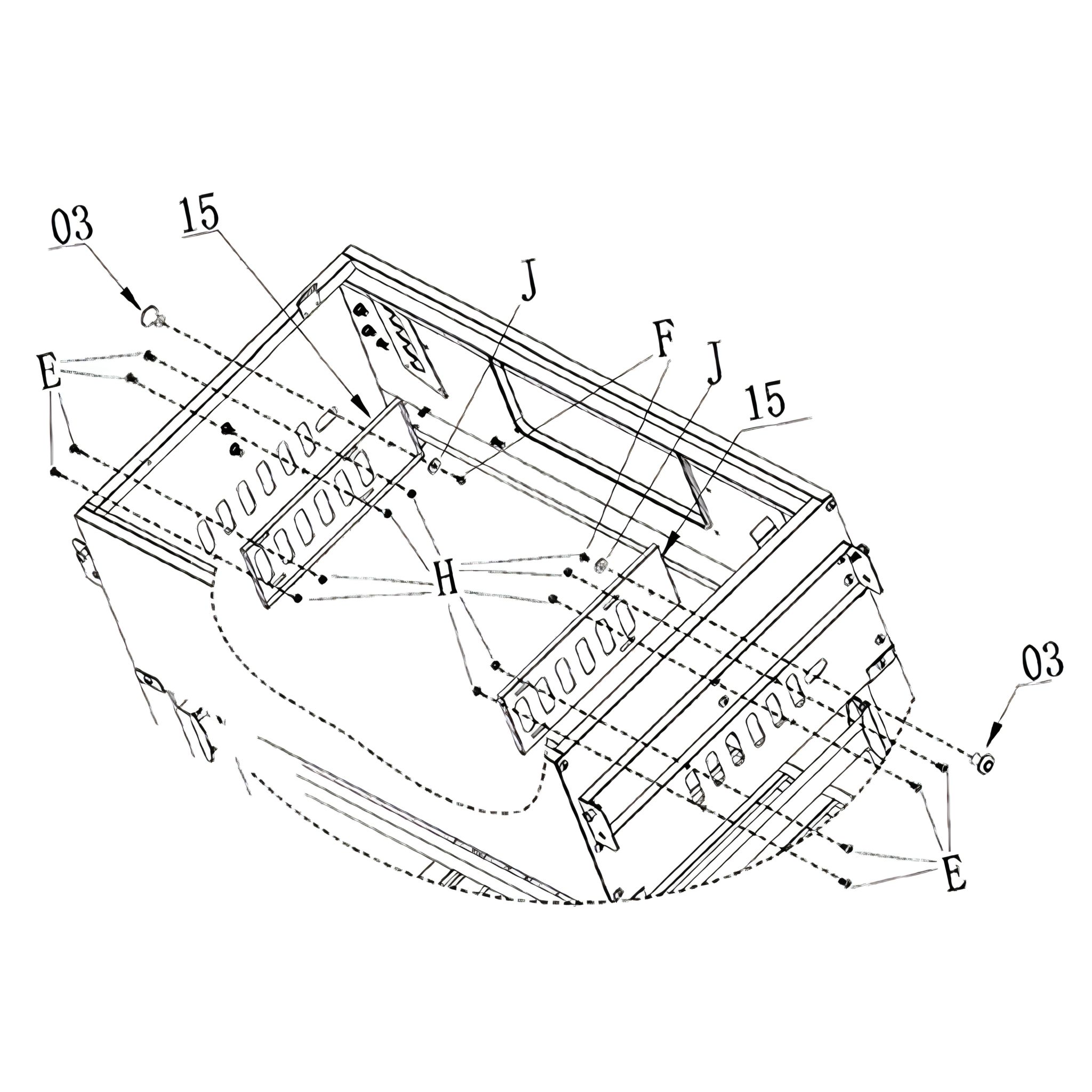
6. Securing Side Panel Support Bars

Securing Side Panel Support Bars
  • Attach the two side panel support bars (14) to the two side panels using 12x M6 12mm screws (A).
  • Secure them with 12x M6 flange nuts (G).
  • Pre-install the 4x M6 18mm screws (D) to the side panel support bars (14).

7. Attaching Air Vents and Handles

Attaching Air Vents and Handles
  • Attach the air vents (15) to the two side panels using 8x M5 12mm screws (E) and secure with 8x M5 flange nuts (H).
  • Secure the vent handles (3) to the air vents (15) with the M4 flat gaskets (J) and M4X10 screw (F).

8. Attaching Lower Brackets to Charcoal Tray

Attach the lower brackets (24) to the charcoal tray (15) with 4x M6 12mm screws (A) and secure them with 4x M6 flange nuts (G).

9. Connecting Upper Brackets and Lower Arms

  • Connect the right upper bracket (22) and left upper bracket (21) to the inside of the lower arms (25) using 2x M5 8mm hinge pins (N) and secure both of them with a cotter pin (M).
  • Attach both lower arms to the outside of the lower brackets (24) using 2x M5 8mm hinge pins (N) and secure each of them with a cotter pin (M).

10. Securing Lift Rack

Secure the lift rack (10) to the lower brackets using 2x M5 8mm hinge pin (N) and secure them both with a cotter pin (М).

11. Inserting Lever and Securing Fire Damper

  • Insert the lever (23) through the front panel on the right hand side, and then pass it through both the fire damper (40) and the high adjusting plate (41).
  • Secure it to the rear panel with a M5 x 25mm hinge pin (P) and cotter pin (M).
  • Secure the high adjusting plate (41) to the lever with a M5 25mm hinge pin (P) and cotter pin (M).
  • Attach the M5 8mm hinge pin (N) to the fire damper slice and M6 flat gasket, and secure them with a cotter pin (M).

12. Securing Upper Brackets and Lift Rack

  • Secure the right and left upper bracket to the front panel using 4x M5 12mm screws (E).
  • Drop the lift rack (10) into the grooves of the left and right upper brackets (21,22).

13. Attaching Lever Support Bracket

  • Secure the lever support bracket (42) to the left and right upper brackets with 2x M4 10mm screws (F).
  • Secure the high adjusting plate (10) to the lift rack with M5 25mm hinge pin (P) and a cotter pin (M).

14. Attaching Bottle Opener

Attach the bottle opener (6) to the front panel using 2x M5 12mm screws (E).

15. Attaching Cast Iron Door

  • Attach the cast iron door (30) to the front panel by 2x M5 45mm hinge pins (O) and secure them with cotter pins (M).
  • Secure them with 4x M6 flange nuts (G).

16. Attaching Side Shelves and Hinges

  • Drop the left side shelf (13) and right side shelf (12) onto the pre-installed screws (D) from step 6.
  • Secure both side shelves to the side panels with 4x M6 18mm screws (D).
  • Attach the lower hinges (20) to the rear panel using 4x M6 35mm screws (C) and secure them with 4x M6 flange nuts (G).

17. Attaching Ash Handle and Flange

Attach the ash handle (18) and the ash handle flange to the ash pan (17) by using 2x M6 flat gaskets (K) and 2x M6 20mm screws (B).

18. Sliding Ash Pan and Securing Hooks

  • Slide the ash pan into the front of the grill, directly under the front panel.
  • Secure the side hooks (11) to the right side shelf with 4x M5 12mm screws (E).

19. Assembling the Lid

  • Attach the lid handle (7) and the lid handle flange to the grill lid (1) by using 2x M6 flat gaskets (K) and 2x M6 20mm screws (B).
  • Secure the lid vents (5) to either side of the lid with 2x M5 12mm screws (E) and 2x M5 flange nuts (H).

20. Securing Upper Hinges to Lid

Secure the upper hinges (19) to the grill lid using 4x M6 35mm screws (C) and 4x M6 flange nuts (G).

21. Attaching Chimney

  • Remove the chimney lid, then slide the chimney (2) into the grill lid from the inside.
  • Secure them with 3x M6 12mm screws (A) and 3x M6 flange nuts (G).
  • Secure the chimney lid back onto the chimney with the provided spring and chimney nut.

22. Placing Temperature Gauge

Place the temperature gauge (4) through the hole on the grill lid and secure with the provided hardware.

23. Attaching Grill Lid

  • Place the grill lid on top of the body of the grill, ensuring the upper hinges fit inside of the lower hinges.
  • Connect the hinges together using 2x M5 35mm hinge pins (Q) and cotter pins (M).

24. Securing Warming Rack and Cooking Grids

  • Snap the left and right sides of the warming rack (8) into the rack holders inside the grill lid and secure it with cotter pins (M).
  • Place the cast iron cooking grids (9) onto the top ledge of the grill body.
  • You should now have your fully assembled BBQ Smoker Grill!

25. Resolution Guide

  • WHAT DO I DO IF THERE ARE MISSING PARTS FROM MY ORDER?

If there appears to be any part missing from your order, contact our friendly and helpful Customer Support Team within 7 days of receipt.

  • HOW DO I CLEAN MY BBQ SMOKER GRILL?

We recommend that you clean the inside of your grill as soon as it is safe to do so with a combination of hot soapy water and your complimentary wire brush. For the frame, use only a soft cloth and hot soapy water. Make sure to dry it off thoroughly before covering with the cover provided.

FOR ALL OTHER ISSUES, PLEASE CONTACT OUR CUSTOMER SUPPORT TEAM.

monstershop
monstershop (opens in new tab)Terms (opens in new tab)Privacy (opens in new tab)