monstershopmonstershop.co.uk
Instructions by monstershopFresh Grills Kamado BBQ Grills 2.0
monstershop

Fresh Grills Kamado BBQ Grills 2.0

Fresh Grills Kamado BBQ Grills 2.0
Before you start
Safety Advice GPSR Information Parts
Steps
1. Building the Legs 2. Assembling the BBQ 3. Building the Frame 4. Assembling the BBQ 5. Building the Legs 6. Assembling the BBQ 7. Assembling the BBQ Part 2 8. Maintenance 9. Troubleshooting

No results

monstershop
monstershop / Fresh Grills Kamado BBQ Grills 2.0
Fresh Grills Kamado BBQ Grills 2.0
monstershop

Instructions by

monstershop

Fresh Grills Kamado BBQ Grills 2.0

This guide provides step-by-step instructions for assembling, operating, and maintaining your Fresh Grills Kamado BBQ Grills 2.0.

Product Information

Fresh Grills Kamado BBQ Grills 2.0

Discover the ultimate outdoor cooking experience with the Fresh Grills Kamado Grill. Crafted with a sleek black ceramic shell and stainless-steel grates, each grill comes complete with a protective rain cover and BBQ utensil kit — everything you need to grill with confidence. Designed for performance, style, and durability, Fresh Grills brings restaurant-quality results to your garden.
SKU
216981,216982,216983
Materials
Cast Iron, Stainless Steel, Ceramic, Bamboo and Powder Coating
SpecificationsAttributes
13" Dimensions56cm x 36xm x 42cm
16" Dimensions56cm x 56xm x 54cm
18" Dimensions103cm x 103cm x 61cm
13" Net Weight21.3KGs
16" Net Weight30.0KGs
18" Net Weight58.0KGs
13" Gross Weight22.7KGs
16" Gross Weight33.6KGs
18" Gross Weight61.0KGs

Safety Advice

  • Only use this grill outdoors in a well-ventilated area to prevent fire and smoke inhalation hazards. Do not operate the grill in enclosed patios, tents, or garages, even if ventilated.
  • Keep the grill on a flat, stable, and heat-resistant surface at all times to prevent tipping or instability during use.
  • Never attempt to move the grill while it is lit or still hot; allow the grill to cool completely before relocation.
  • For 18" models, always lock the wheels in place before lighting or cooking to prevent rolling or tipping.
  • Always wear heat-resistant gloves when opening the lid, adjusting vents, or handling hot components.
  • Do not touch the ceramic outer shell or metal parts during or immediately after use, as surfaces remain extremely hot and can cause severe burns.
  • Keep children and pets at a safe distance from the grill while it is in use and during the cooling period.
  • Do not leave the grill unattended while lit; supervise it continuously to reduce fire risk.
  • Use only recommended charcoal or natural firelighters; never use petrol, lighter fluid, or other flammable accelerants.
  • Always open the lid before lighting to allow airflow and prevent dangerous flare-ups or smoke bursts.
  • Stand clear of the grill when lighting and use long-handled tools to reduce exposure to heat and flare-ups.
  • Ensure that no overhanging branches, awnings, or flammable objects are within 2 metres of the grill during operation.
  • Keep the included toolkit and any other metal utensils away from hot surfaces when not in use to avoid accidental burns.
  • Use caution when opening the grill lid during cooking, as hot steam and smoke can escape suddenly.
  • Always allow the grill to cool completely before cleaning, covering, or storing.
  • Inspect the stand, wheel locks (18" only), bamboo shelves, and handle attachments regularly to ensure they remain secure.
  • Do not overload the bamboo shelves with heavy cookware or accessories; they are designed for lightweight tools and ingredients only.
  • Avoid using the grill in high winds or heavy rain; use the supplied rain cover only when the grill is cool and not in use.
  • The grill is intended only for outdoor food preparation using charcoal fuel; do not use for incineration, heating, or any other unintended purposes.
  • Only adult users familiar with charcoal grill operation should use this product; it is not suitable for children or individuals without proper training or supervision.
  • This product is not a toy and must never be used by children under any circumstances.

GPSR Information

UK

  • Manufacturer: Monster Group UK Limited, Monster House 19-23 Alan Farnaby Way, Industrial Estate Sheriff Hutton, York YO60 6PG, England.
  • Person Responsible: Rana Harvey, Monster Group UK Limited, Monster House 19-23 Alan Farnaby Way, Industrial Estate Sheriff Hutton, York YO60 6PG, England. +441347878880

EU

  • Manufacturer: Monster Group BV, Van Heemskerckweg 28A & B, Venlo 5928LL Netherlands.
  • Person Responsible: Rana Harvey, Monster Group BV, Van Heemskerckweg 28A & B, Venlo 5928LL, Netherlands. +441347878880

Parts

13" - Part 1 - Top Vent Cap
13" - Part 1 - Top Vent Cap
13" - Part 2 - Grill Dome
13" - Part 2 - Grill Dome
13" - Part 3 - Upper Support Ring
13" - Part 3 - Upper Support Ring
13" - Part 4 - Cooking Grill Grate
13" - Part 4 - Cooking Grill Grate
13" - Part 5 - Charcoal Plate
13" - Part 5 - Charcoal Plate
13" - Part 6 - FireBox
13" - Part 6 - FireBox
13" - Part 7 - Lower Support Ring
13" - Part 7 - Lower Support Ring
13" - Part 8 - Lower Grill Base
13" - Part 8 - Lower Grill Base
13" - Part 9 - Bottom support Stand Ring
13" - Part 9 - Bottom support Stand Ring
13" - Part 10 - support Legs
13" - Part 10 - support Legs
13" - Part 11 -Bottom Air Vent
13" - Part 11 -Bottom Air Vent
13" - Part 12 - Hinge Assembly
13" - Part 12 - Hinge Assembly
13" - Part A - Screw
13" - Part A - Screw
13" - Part C - Nuts
13" - Part C - Nuts
16" - Part 1 -Top Vent Cap
16" - Part 1 -Top Vent Cap
16" - Part 2 - Grill Dome
16" - Part 2 - Grill Dome
16" - Part 3 - Upper Support Ring
16" - Part 3 - Upper Support Ring
16" - Part 4 - Side Handles
16" - Part 4 - Side Handles
16" - Part 5 - Cooking Grill Grate
16" - Part 5 - Cooking Grill Grate
16" - Part 6 - Inner Fire Ring
16" - Part 6 - Inner Fire Ring
16" - Part 7 - Hinge Assembly
16" - Part 7 - Hinge Assembly
16" - Part 8 - Charcoal Plate
16" - Part 8 - Charcoal Plate
16" - Part 9 - FireBox
16" - Part 9 - FireBox
16" - Part 10 - Lower Support Ring
16" - Part 10 - Lower Support Ring
16" - Part 11 - Lower Grill Base.
16" - Part 11 - Lower Grill Base.
16" - Part 12 - Bottom Air Vent
16" - Part 12 - Bottom Air Vent
16" - Part 13 - Stand Frame Ring
16" - Part 13 - Stand Frame Ring
16" - Part 14 - Support Legs
16" - Part 14 - Support Legs
16" - Part 15 - Caster Wheels
16" - Part 15 - Caster Wheels
16" - Part 16- Wheel Brackets
16" - Part 16- Wheel Brackets
16" - Part 17 - Base Connector Plate
16" - Part 17 - Base Connector Plate
16" - Part A - Screw
16" - Part A - Screw
16" - Part B - Nuts
16" - Part B - Nuts
16" - Part C - Washer
16" - Part C - Washer
16" - Part D - Handle Brackets
16" - Part D - Handle Brackets
16" - Part E - Handle Spacers
16" - Part E - Handle Spacers
18" - Part 1 - Top Vent Cap
18" - Part 1 - Top Vent Cap
18" - Part 2 - Grill Dome
18" - Part 2 - Grill Dome
18" - Part 3 - Upper Support Ring
18" - Part 3 - Upper Support Ring
18" - Part 4 - Cooking Grill Grate
18" - Part 4 - Cooking Grill Grate
18" - Part 5 - Charcoal Plate
18" - Part 5 - Charcoal Plate
18" - Part 6 - FireBox
18" - Part 6 - FireBox
18" - Part 7 - Inner Fire Ring
18" - Part 7 - Inner Fire Ring
18" - Part 8 - Lower Support Ring
18" - Part 8 - Lower Support Ring
18" - Part 9 - Lower Grill Base
18" - Part 9 - Lower Grill Base
18" - Part 10 - Support Frame Panels
18" - Part 10 - Support Frame Panels
18" - Part 11 - Locking Caster Wheels
18" - Part 11 - Locking Caster Wheels
18" - Part 12 - Standard Caster Wheels
18" - Part 12 - Standard Caster Wheels
18" - Part 13 - Cross Base Braces
18" - Part 13 - Cross Base Braces
18" - Part 14 - Bottom Air Vent
18" - Part 14 - Bottom Air Vent
18" - Part 15 - Hinge Arms
18" - Part 15 - Hinge Arms
18" - Part 16 - Folding Side Tables
18" - Part 16 - Folding Side Tables
18" - Part 17 -Side Table Brackets
18" - Part 17 -Side Table Brackets
18" - Part 18 - Front Handle
18" - Part 18 - Front Handle
18" - Part A - Screws
18" - Part A - Screws
18" - Part B - Screws
18" - Part B - Screws
18" - Part C - Nuts
18" - Part C - Nuts
18" - Part D - Nuts
18" - Part D - Nuts
18" - Part E - Washer
18" - Part E - Washer

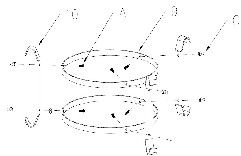
1. Building the Legs

  • Attach the Support Legs (Part 10) to the Bottom Support Stand Ring (Part 9) using the Screws (Part A) and Nuts (Part C).
  • Ensure all legs are evenly spaced and securely tightened.

2. Assembling the BBQ

  • Carefully place the Lower Grill Base (Part 8) onto the assembled stand and ensure it sits securely within the Bottom Support Stand Ring (Part 9).
  • Insert the following parts into the Lower Grill Base (Part 8) in this order: Lower Support Ring (Part 7), Firebox (Part 6), Charcoal Plate (Part 5), Upper Support Ring (Part 3), and Cooking Grill Grate (Part 4).
  • Secure the Hinge Assembly (Part 12) to the Lower Grill Base (Part 8) and the Grill Dome (Part 2), tightening all connections firmly while ensuring smooth opening and closing.
  • Attach the Bottom Air Vent (Part 11) to the front opening of the Lower Grill Base (Part 8), then place the Top Vent Cap (Part 1) onto the top of the Grill Dome (Part 2).

3. Building the Frame

  • Build the base frame by attaching the Stand Frame Ring (Part 13), Support Legs (Part 14), Caster Wheels (Part 15), Wheel Brackets (Part 16), and Base Connector Plate (Part 17) together using the Screws (Part A), Nuts (Part B), and Washers (Part C).
  • Attach the Side Handles (Part 4) to the assembled frame using the predrilled holes, along with the Handle Brackets (Part D) and Handle Spacers (Part E) where required.

4. Assembling the BBQ

  • Attach the Bottom Air Vent (Part 12) to the Lower Grill Base (Part 11).
  • Install the Lower Support Ring (Part 10) onto the top of the Lower Grill Base (Part 11).
  • Insert the Firebox (Part 9) inside the Lower Grill Base (Part 11).
  • Place the Charcoal Plate (Part 8) inside the Firebox (Part 9).
  • Attach the Hinge Assembly (Part 7) to the Inner Fire Ring (Part 6) and install it on top of the Charcoal Plate (Part 8) and Firebox (Part 9).
  • Place the Cooking Grill Grate (Part 5) inside the Inner Fire Ring (Part 6).
  • Attach the Side Handles (Part 4) to the Upper Support Ring (Part 3), then fit the Upper Support Ring (Part 3) on top of the Cooking Grill Grate (Part 5) and Inner Fire Ring (Part 6).
  • Install the Grill Dome (Part 2) on top of the Upper Support Ring (Part 3).
  • Attach the Top Vent Cap (Part 1) to the top of the Grill Dome (Part 2) using the Nuts (Part C), Handle Brackets (Part D), and Handle Spacers (Part E).

5. Building the Legs

  • Build the base frame by attaching the Locking Caster Wheels (Part 11), Standard Caster Wheels (Part 12), and Cross Base Braces (Part 13) to the Support Frame Panels (Part 10) using the Screws (Part A & Part B), Nuts (Part C & Part D), and Washers (Part E).

6. Assembling the BBQ

  • Install the Lower Grill Base (Part 9) on top of the assembled frame.
  • Attach the Bottom Air Vent (Part 14) to the Lower Grill Base (Part 9).
  • Attach the Hinge Arms (Part 15), Folding Side Tables (Part 16), Side Table Brackets (Part 17), Front Handle (Part 18), and Lower Support Ring (Part 8) to the Lower Grill Base (Part 9) using the Nuts (Part C) and Washers (Part E).

7. Assembling the BBQ Part 2

  • Following on from the previous step, install the Firebox (Part 6) into the Lower Grill Base (Part 9).
  • Place the Charcoal Plate (Part 5) inside the Firebox (Part 6).
  • Add the Cooking Grill Grate (Part 4) on top of the Charcoal Plate (Part 5).
  • Attach the Front Handle (Part 18) to the Upper Support Ring (Part 3), then install the Upper Support Ring (Part 3) on top of the Cooking Grill Grate (Part 4).
  • Install the Grill Dome (Part 2) on top of the Upper Support Ring (Part 3).
  • Install the Top Vent Cap (Part 1) onto the Grill Dome (Part 2) using the Nuts (Part D) and Washers (Part E).

8. Maintenance

  • Clean the stainless steel grates with a grill brush after each use, once the grill has completely cooled.
  • Empty the ash tray regularly and check that air vents are free from obstruction.
  • Inspect the felt gasket periodically for wear and replace it as needed to maintain proper sealing.
  • Store the grill under its included rain cover only when completely cool and dry to prevent moisture damage.
  • Apply food-safe oil lightly to the grills after cleaning to reduce rust risk.
  • Check the tightness of all bolts, hinges, bamboo handles, and shelves before each use, especially on the 18" model.
  • Avoid using abrasive cleaners or scouring pads on ceramic surfaces to prevent damage.
  • Do not use water to extinguish hot charcoal inside the ceramic shell, as rapid cooling may cause cracking.

9. Troubleshooting

Please read through the guide below if you have any issues or faults with your device. The information covers and resolves the majority of frequently asked questions.

Q: There are parts missing from my order. A: If there appears to be any part missing from your package contact our Customer Support team via the details on the Contact Us page within 7 days of receipt.

For all other issues please contact our Customer Support department via the details on the Contact page.

monstershop
monstershop (opens in new tab)Terms (opens in new tab)Privacy (opens in new tab)