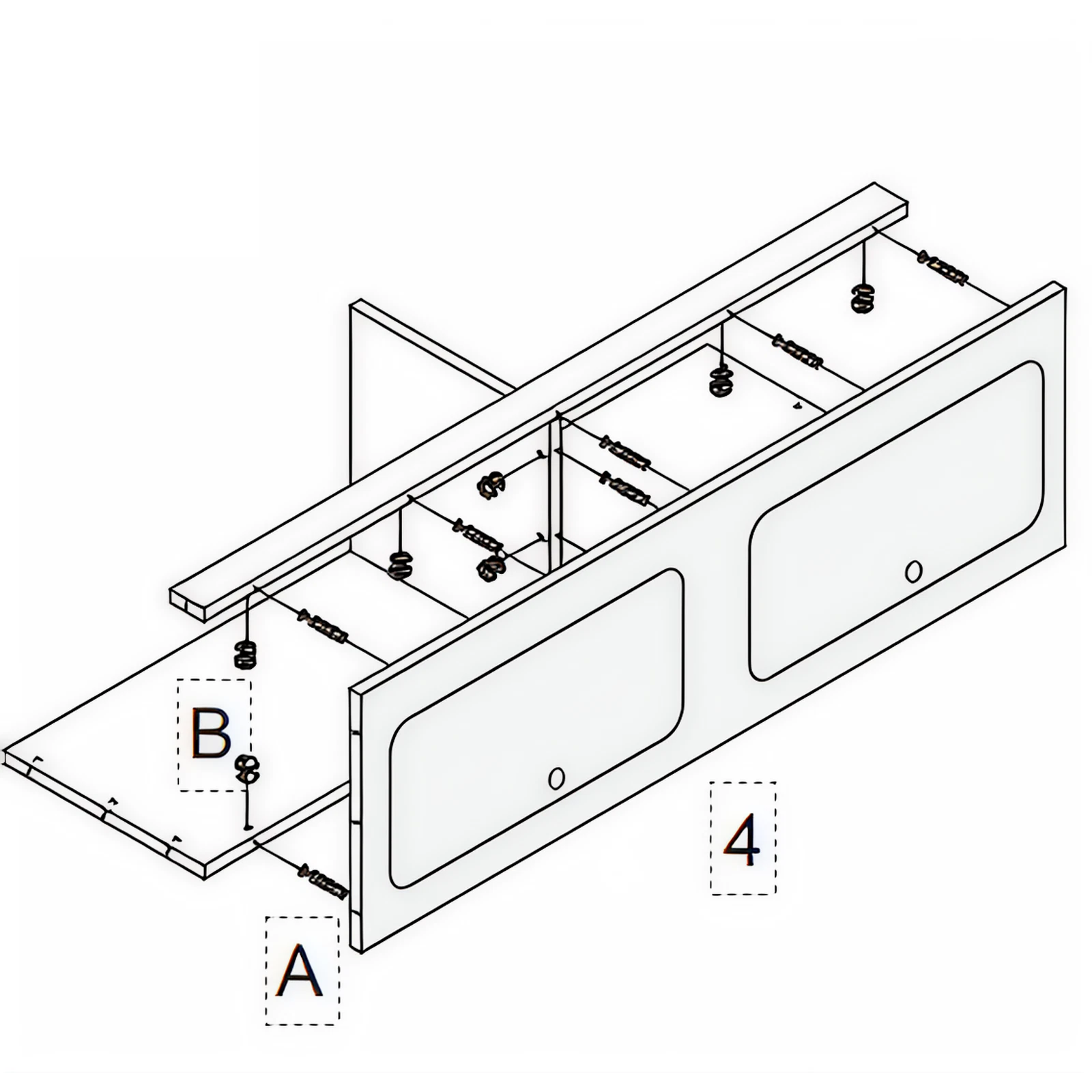
1. Adjuntar Paneles Frontal e Inferior al Panel Central

Adjunte el panel frontal (parte 3) y el panel inferior (parte 1) al panel central (parte 2) utilizando herrajes excéntricos (B) y conectores de acero (A).
Asegúrese de que todas las conexiones estén seguras y alineadas correctamente.



















