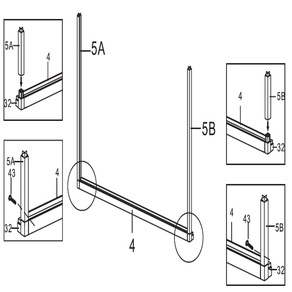
1. Étape 1

monstershop.co.uk | ||||||||||||||||||
![]() Instructions par monstershop Serre en Polycarbonate Argent 6ft x 8ftCe guide fournit des instructions étape par étape pour assembler les composants et utiliser la Serre en Polycarbonate, 6ft x 8ft. Informations produitSerre en Polycarbonate Argent 6ft x 8ftCette magnifique serre est construite avec un cadre en aluminium épais et des panneaux de polycarbonate haute densité. Le cadre en aluminium, résistant à la rouille, est une structure solide conçue pour résister au vent et à d'autres conditions météorologiques défavorables. Permettez à vos plantes et légumes de respirer grâce à la fenêtre pratique située en haut de l'unité.
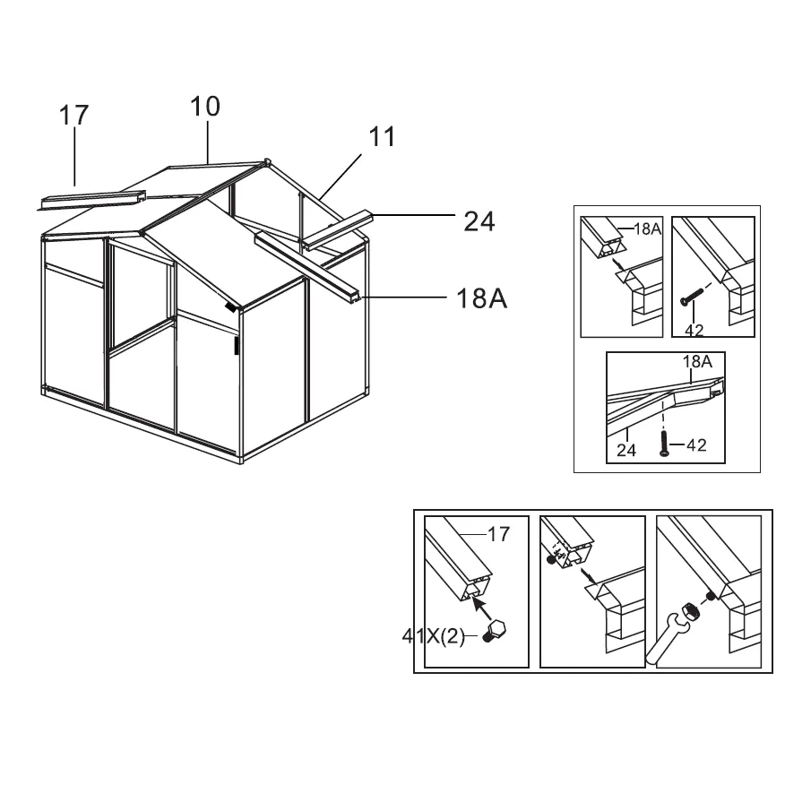
Parts![]() Pièce 1 ![]() Pièce 3 ![]() Pièce 4 ![]() Pièce 5A ![]() Pièce 5B ![]() Pièce 6 ![]() Pièce 8 ![]() Pièce 9 ![]() Pièce 10 ![]() Pièce 11 ![]() Pièce 12 ![]() Pièce 13 ![]() Pièce 14 ![]() Pièce 15 ![]() Pièce 16 ![]() Pièce 17 ![]() Pièce 18A ![]() Pièce 19 ![]() Pièce 20 ![]() Pièce 21 ![]() Pièce 22 ![]() Pièce 23 ![]() Pièce 24 ![]() Pièce 25 ![]() Pièce 26 ![]() Pièce 27 ![]() Pièce 28 ![]() Pièce 30 ![]() Pièce 31 ![]() Pièce 32 ![]() Pièce 33A ![]() Pièce 33B ![]() Pièce 34 ![]() Pièce 35A ![]() Pièce 35B ![]() Pièce 41 ![]() Pièce 42 ![]() Pièce 43 ![]() Pièce 44 ![]() Pièce 48 ![]() Pièce 51A ![]() Pièce 51 ![]() Pièce 52 ![]() Pièce A ![]() Pièce B ![]() Pièce C ![]() Pièce D ![]() Pièce E ![]() Pièce F ![]() Pièce G ![]() Pièce H ![]() Pièce I ![]() Pièce J ![]() Pièce K 1. Étape 1![]() 2. Étape 2![]() ![]() ![]() 3. Étape 3![]() 4. Étape 4![]() 5. Étape 5![]() 6. Étape 6![]() 7. Étape 7![]() s 8. Étape 8![]() s 9. Étape 9![]() 1. Fixez la Pièce 9 à la Pièce 10 à l'aide des vis fournies. 10. Étape 10![]() 1. Fixez la Pièce 10 à la Pièce 11 à l'aide des vis fournies. 11. Étape 11![]() 12. Étape 12![]() 13. Étape 13![]() 1. Fixez la Pièce 13 à la Pièce 12 à l'aide des vis fournies. 14. Étape 14![]() 1. Fixez la Pièce 14 à la Pièce 15 à l'aide des vis fournies. --- 15. Étape 15![]() 1. Fixez la Pièce 15 à la structure principale en utilisant les vis fournies. 16. Étape 16![]() 1. Fixez la Pièce 16 au cadre principal à l'aide des vis fournies. --- 17. Étape 17![]() 1. Fixez la Pièce 17 au cadre principal en utilisant les vis fournies. 18. Étape 18![]() --- 19. Étape 19![]() 20. Étape 20![]() 1. Fixez la Pièce 20 à la structure principale en utilisant les vis fournies. 21. Étape 21![]() 1. Fixez la Pièce 21 au cadre principal en utilisant les vis fournies. 22. Étape 22![]() --- 23. Étape 23![]() 1. Fixez la Pièce 23 à la structure principale en utilisant les vis fournies. 24. Étape 24![]() 1. Fixez la Pièce 24 à la structure principale en utilisant les vis fournies. 25. Étape 25![]() ![]() ![]() 1. Fixez la Pièce 51A à la Pièce 51 en utilisant les vis fournies. 26. Dépannage
|