monstershopmonstershop.co.uk
Instructions by monstershopKompositstaketgrindar med LED-stolpar
monstershop

Kompositstaketgrindar med LED-stolpar

Kompositstaketgrindar med LED-stolpar
Before you start
SäkerhetsrådGPSR-informationParts
Steps
1. Montering av grindram: Balkjustering och anslutning2. Montering av grindram: Installation av spjälor3. Justering av grindramens montering4. Installation av grindgångjärn5. Installation och justering av grindbeslag6. Installation av grindens låshandtag7. Montering av låsmekanism8. Installation av nyckelmekanism för grindlås9. Montering av låsmekanism10. Installation av låsfäste på grind11. Underhåll12. Felsökning

No results

monstershop
monstershop / Kompositstaketgrindar med LED-stolpar
Kompositstaketgrindar med LED-stolpar
monstershop

Instruktioner av

monstershop

Kompositstaketgrindar med LED-stolpar

Kompositpanelgrind – en elegant och praktisk lösning för att förbättra integritet, säkerhet och trottoarens attraktionskraft.

Produktinformation

Kompositstaketgrindar med LED-stolpar

Våra kompositträdgårdsgrindar kombinerar robust konstruktion med modern bekvämlighet, tillverkade av hållbara, lättskötta kompositmaterial som motstår väderpåverkan och slitage. Varje grind inkluderar ett säkert låssystem för ökad säkerhet och sinnesro. Designade för att erbjuda en stilfull och pålitlig ingång, har dessa grindar en modern finish som kompletterar alla utomhusmiljöer - vilket gör dem till ett idealiskt val för både säkerhet och estetiskt tilltalande.
SKU
214902,214903
214902
Mått900*1800mm
FärgGrå

GPSR Information

UK

  • Tillverkare: Monster Group UK Limited, Monster House 19-23 Alan Farnaby Way, Industrial Estate Sheriff Hutton, York YO60 6PG

  • Ansvarig Person: Rana Harvey, Monster Group UK Limited, Monster House 19-23 Alan Farnaby Way, Industrial Estate Sheriff Hutton, York YO60 6PG, England, +441347878880

EU

  • Tillverkare: Monster Group BV, Van Heemskerckweg 28A & B, Venlo 5928LL Nederländerna +441347878880

  • Ansvarig Person: Rana Harvey, Monster Group BV, Van Heemskerckweg 28A & B, Venlo 5928LL, Nederländerna, +44134787888

Säkerhetsråd

Läs igenom säker arbetsmetod för att förhindra skador eller skador på enheten.

  • Se till att du har läst och fullt ut förstått bruksanvisningen och säkerhetsråden innan du använder denna produkt.
  • Installera endast grinden på stabil, jämn mark för att säkerställa strukturell integritet och förhindra feljustering eller driftsproblem.
  • Se till att alla grindstolpar är ordentligt förankrade enligt tillverkarens rekommendationer för att bibehålla stabilitet och förhindra att de sjunker eller fungerar felaktigt.
  • Grinden måste vara korrekt justerad och i nivå för att säkerställa smidig öppning och stängning utan hinder eller överdriven kraft.
  • Se till att alla gångjärn, spärrar och låsmekanismer är korrekt installerade och åtdragna för att förhindra rörelse, feljustering eller säkerhetsrisker.
  • Inspektera regelbundet grinden för tecken på slitage, rost (om tillämpligt) eller skador på några komponenter, inklusive gångjärn, fästelement och låsmekanismer.
  • Smörj rörliga delar regelbundet för att förhindra stelhet, gnissel eller mekaniska fel.
  • Tvinga inte upp eller stäng grinden om motstånd känns, eftersom detta kan indikera ett hinder eller en feljustering som behöver åtgärdas.
  • Tillåt inte barn att leka på eller klättra på grinden, eftersom detta kan leda till skador eller skador på strukturen.
  • Undvik att placera grinden nära högvärmekällor, öppna lågor eller brännbara material för att minska brandrisker.
  • Applicera inte överdriven vikt eller kraft på grinden, eftersom detta kan orsaka feljustering eller skador på gångjärnen och stödstrukturen.
  • Se till att grindens låsmekanism är aktiverad när det behövs för att förhindra oavsiktlig rörelse eller obehörig åtkomst.
  • Om grinden blir svår att använda, inspektera alla rörliga delar och fästelement för tecken på slitage eller skador och utför nödvändiga justeringar eller byten.
  • I områden med starka vindar, se till att grinden är ordentligt säkrad när den inte används för att förhindra plötslig rörelse eller skador.
  • Om du är osäker på någon aspekt av installation eller underhåll, konsultera en kvalificerad professionell för att förhindra säkerhetsrisker.

GPSR-information

Storbritannien

  • Tillverkare: Monster Group UK Limited, Monster House 19-23 Alan Farnaby Way, Industrial Estate Sheriff Hutton, York YO60 6PG, England.
  • Ansvarig person: Rana Harvey, Monster Group UK Limited, Monster House 19-23 Alan Farnaby Way, Industrial Estate Sheriff Hutton, York YO60 6PG, England. +441347878880

EU

  • Tillverkare: Monster Group BV, Van Heemskerckweg 28A & B, Venlo 5928LL Nederländerna.
  • Ansvarig person: Rana Harvey, Monster Group BV, Van Heemskerckweg 28A & B, Venlo 5928LL, Nederländerna. +441347878880

Parts

Del 1 - Sidobalken
Del 1 - Sidobalken
Del 2 - Övre Grindbräda
Del 2 - Övre Grindbräda
Del 3 - Sidobalk
Del 3 - Sidobalk
Del 4 - Grindspjäla
Del 4 - Grindspjäla
Del 5 - Överliggare
Del 5 - Överliggare
Del 6 - Bottenbalken
Del 6 - Bottenbalken
Del 7 - Övre gångjärn
Del 7 - Övre gångjärn
Del 8 - Nedre gångjärn
Del 8 - Nedre gångjärn
Del 9 - Hörnkopplingar
Del 9 - Hörnkopplingar
Del 10 - Grindens säkringsbeslag
Del 10 - Grindens säkringsbeslag
9.
9.
Del A - 20 mm skruv
Del A - 20 mm skruv
Del B - 45 mm skruv
Del B - 45 mm skruv
Del C - 50 mm skruv
Del C - 50 mm skruv
Del D - Insexnyckel
Del D - Insexnyckel
Låsdelen 1 - Handtagsmekanism
Låsdelen 1 - Handtagsmekanism
Låskomponent 2 - Låskopplingsstång (Latch Connecting Bar)
Låskomponent 2 - Låskopplingsstång (Latch Connecting Bar)
Låskomponent 3 - Lås Handtag Främre Panel
Låskomponent 3 - Lås Handtag Främre Panel
Låskomponent 4 - Låshandtagets bakpanel
Låskomponent 4 - Låshandtagets bakpanel
Låskomponent 5 - Nyckelmekanism
Låskomponent 5 - Nyckelmekanism
Låsdels 5-1 - Nyckelmekanism Skruvar
Låsdels 5-1 - Nyckelmekanism Skruvar
Låskomponent 6 - Låsfäste
Låskomponent 6 - Låsfäste
Låskomponent A - Anslutningsstång
Låskomponent A - Anslutningsstång
Låskomponent B - Monteringsskruvar
Låskomponent B - Monteringsskruvar
Låskomponent C - Låsskruvar för regel (latch securing screws)
Låskomponent C - Låsskruvar för regel (latch securing screws)

1. Montering av grindram: Balkjustering och anslutning

För att montera grindramen, följ dessa steg:

1. Positionera Sidobalken (Del 1) och Sidobalk (Del 3) vertikalt.
2. Fäst Bottenbalken (Del 6) horisontellt mellan de två sidobalkarna.
3. Använd Hörnkopplingarna (Del 9) för att säkra hörnen där sidobalkarna möter bottenbalken.
4. Sätt in 20 mm skruvarna (Del A) i de avsedda hålen på hörnkopplingarna för att säkra balkarna tillsammans.

Säkerställ att alla delar är korrekt justerade och ordentligt fastsatta.

2. Montering av grindram: Installation av spjälor

För att fortsätta montera grindramen, följ dessa steg:

1. Sätt in Grindspjälorna (Del 4) vertikalt mellan sidobalkarna, och se till att de är jämnt fördelade och i linje.
2. Placera Övre Grindbrädan (Del 2) horisontellt längst upp på ramen.

Säkerställ att alla komponenter är korrekt inriktade och ordentligt fastsatta för att bibehålla grindens strukturella integritet.

3. Justering av grindramens montering

För att slutföra montering av grindramen, följ dessa steg:

1. Placera Överliggaren (Del 5) horisontellt högst upp på ramen.
2. Använd Hörnkopplingarna (Del 9) för att säkra hörnen där överliggaren möter sidobalkarna (Del 1 och 3).
3. Sätt in 20 mm skruvarna (Del A) i de avsedda hålen på hörnkopplingarna för att säkra balkarna tillsammans.

Säkerställ att alla delar är korrekt justerade och ordentligt fastsatta för att bibehålla grindens strukturella integritet.

4. Installation av grindgångjärn

För att installera gångjärnen på grinden, följ dessa steg:

1. Placera Övre gångjärn (Del 7) i det övre hörnet av grindramen.
2. Fäst det övre gångjärnet med 45 mm skruvar (Del B), och säkerställ att det är ordentligt fastsatt.
3. Placera Nedre gångjärn (Del 8) i det nedre hörnet av grindramen.
4. Fäst det nedre gångjärnet med 45 mm skruvar (Del B), och säkerställ att det är ordentligt fastsatt.

Säkerställ att båda gångjärnen är korrekt justerade för att möjliggöra smidig funktion av grinden.

5. Installation och justering av grindbeslag

För att installera grindens säkringsbeslag, följ dessa steg:

1. Placera Grindens säkringsbeslag (Del 10) vid de övre och nedre hörnen av grindramen och fäst dem på LED Aluminiumstolparna.
2. Se till att beslagen är i linje med gångjärnen för korrekt funktion.
3. Fäst beslagen med lämpliga skruvar och säkerställ att de är ordentligt fastsatta.

Säkerställ att alla komponenter är korrekt inriktade och säkert fastsatta för att bibehålla grindens strukturella integritet och funktionalitet.

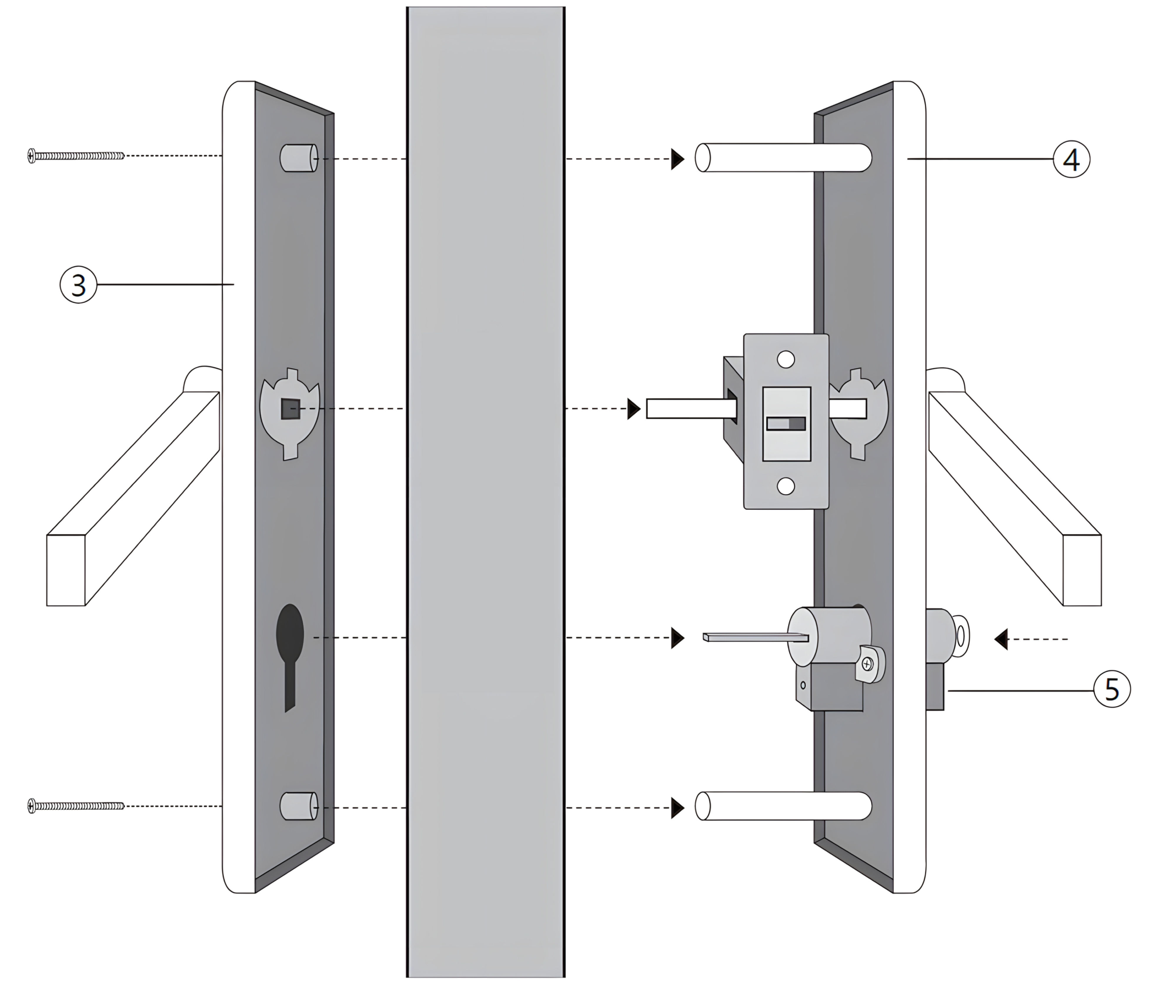
6. Installation av grindens låshandtag

För att installera låshandtaget på grinden, följ dessa steg:

1. Fäst handtagen med hjälp av en borrmaskin, och se till att det är ordentligt fastsatt på panelen det monteras på.

Se till att låshandtaget är korrekt justerat för smidig användning.

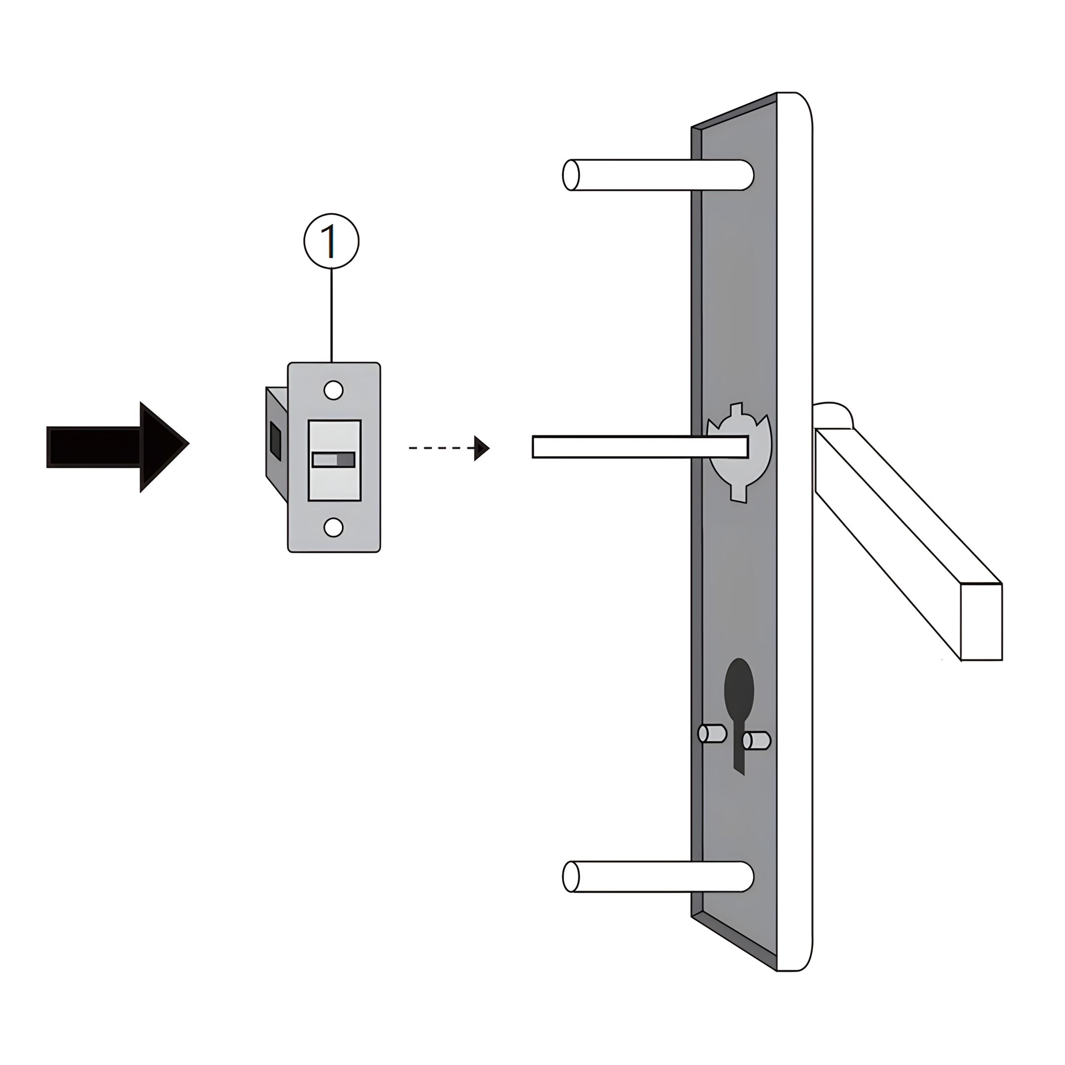
7. Montering av låsmekanism

För att installera låsmekanismen på grinden, följ dessa steg:

1. Sätt in Anslutningsstången (Låskomponent A) genom de avsedda hålen på Låshandtagets bakpanel (Låskomponent 4).
2. Rikta in och sätt in Låskopplingsstången (Låskomponent 2) i motsvarande spår på bakhandtaget.
3. Placera Handtagsmekanismen (Låsdelen 1) på anslutningsstängerna och låsstången, och säkerställ korrekt inriktning.

Säkerställ att alla komponenter är ordentligt anslutna och inriktade för korrekt låsfunktion.

8. Installation av nyckelmekanism för grindlås

För att slutföra installationen av låsmekanismen på grinden, följ dessa steg:

1. Placera Nyckelmekanismen (Låskomponent 5) i den avsedda platsen på Låshandtagets bakpanel (Låskomponent 4).
2. Fäst nyckelmekanismen med hjälp av Nyckelmekanism Skruvar (Låsdels 5-1), och se till att den är ordentligt fastsatt.

Säkerställ att alla komponenter är säkert anslutna och justerade för korrekt låsfunktion.

9. Montering av låsmekanism

För att slutföra installationen av låsmekanismen på grinden, följ dessa steg:

1. Placera Lås Handtag Främre Panel (Låskomponent 3) på ena sidan av grinden, i linje med de avsedda hålen.
2. Sätt in Anslutningsstång (Låskomponent A) genom hålen i grinden och in i Låshandtagets bakpanel (Låskomponent 4) på motsatt sida.
3. Rikta in Låskopplingsstång (Låskomponent 2) med spåret i bakhandtaget.
4. Säkra Nyckelmekanism (Låskomponent 5) i den avsedda platsen på bakhandtaget med hjälp av Nyckelmekanism Skruvar (Låsdels 5-1).
5. Se till att alla komponenter är säkert anslutna och justerade för korrekt låsfunktion.

10. Installation av låsfäste på grind

För att slutföra installationen av låsfästet på grinden, följ dessa steg:

1. Placera Låset (Låsdelen 1) på grindramen, i linje med de förborrade hålen.
2. Placera Låsfästet (Låskomponent 6) på staketstolpen. Se till att förborrade hål är i linje med låsfästet på rätt höjd.
3. Fäst låsfästet med två Låsskruvar för regel (Låskomponent C), och säkerställ att det är ordentligt fastsatt.

Säkerställ att alla komponenter är ordentligt anslutna och i linje för korrekt låsfunktion.

11. Underhåll

  • Lätt rengöring: Torka av grindens ytor då och då med en fuktig trasa eller skölj med vatten för att hålla dem i bästa skick.
  • Kontroll av gångjärn och lås: Kontrollera regelbundet gångjärn och lås för att säkerställa att de är ordentligt fastsatta och fungerar smidigt.
  • Underhåll av belysning: Rengör solpanelerna på LED-lamporna regelbundet för att bibehålla laddningseffektiviteten, särskilt under hösten när löv kan samlas.
  • Undvik stötskador: Var försiktig så att du inte slår igen eller tvingar grinden att stängas, särskilt vid starka vindar, för att bevara den strukturella integriteten.
  • Övervaka grindens justering: Se till att grinden förblir korrekt justerad och justera hårdvaran vid behov för att bibehålla smidig funktion.

12. Felsökning

  • VAD GÖR JAG OM DET SAKNAS DELAR I MIN BESTÄLLNING?

Om det verkar saknas någon del i din beställning, kontakta vårt vänliga och hjälpsamma kundsupportteam inom 7 dagar efter mottagandet.

  • FÖR ALLA ANDRA PROBLEM, VÄNLIGEN KONTAKTA VÅRT KUNDSUPPORTTEAM.
monstershop
monstershop (opens in new tab)Terms (opens in new tab)Privacy (opens in new tab)